-
The clamp is designed for lifting and transporting the structure with the fixing place on the profile corresponding to the construction of the handle
-
Complies with the provisions of the Machinery Directive: 2006/42/WE
-
Made according to the harmonized standard: PN-EN 13155
Marked on product : producers sign, sign CE, load capacity, factory number, year of production.


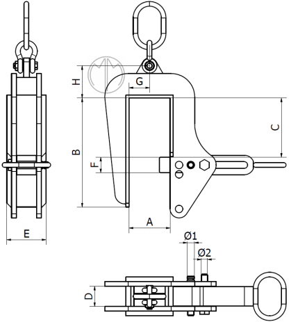
WLL [kg] |
Dimensions [mm] |
Weight [kg] |
||||||||||
A |
B |
C |
D |
E |
F |
G |
H |
Ø1 |
Ø2 |
|||
1 250 / 900 / 400 |
105 |
280 |
152 |
52 |
100 |
40 |
52,5 |
83 |
18,5 |
16 |
17,0 |
|
Product Details
3644
Write your review
Review sent
Your comment has been submitted and will be available once approved by a moderator.
Your review cannot be sent
In the same category












Product Comments
Your review appreciation cannot be sent
Report comment
Report sent
Your report cannot be sent